
刚刚过去的周末,沙尘竟突破南岭,侵扰广东,甚至飞过琼州海峡到了海南!连日来北方的极端大风,导致沙尘大范围传输,一路向南,跨过长江、进入华南,最远抵达海南省的北部,全国18省份有扬沙或浮尘天气,形成了近年来影响我国范围最广的一次沙尘天气过程。
沙尘借狂风直扑而来,广东发生大范围污染天气过程,不少人查看天气都看到了少见的“污染”二字,窗口远望都是灰蒙蒙的,连广州地标建筑“小蛮腰”都快要“消失”了。
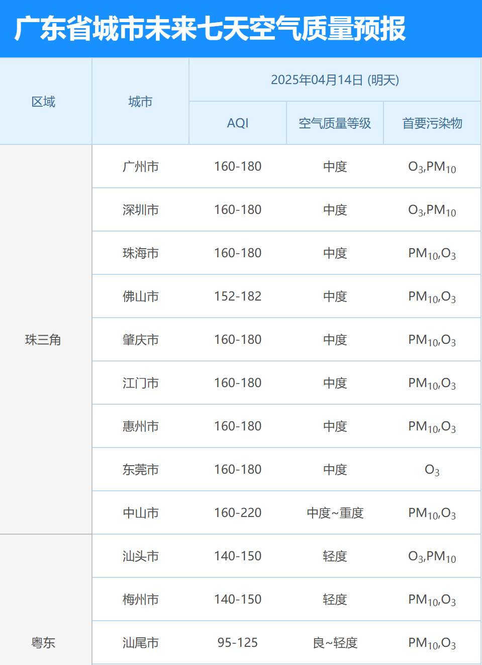
今天(4月14日),广东多地的沙尘天气还会持续,局地或仍有中至重度污染。何时才能告别“灰白滤镜”,再见“广东蓝”?
为何广东会出现沙尘天气?有多严重?
沙尘天气是指强风从地面卷起大量尘沙,使空气浑浊、水平能见度下降的一种天气现象。在我国,沙尘天气多发于春季,主要源区包括蒙古高原、塔克拉玛干沙漠等地。根据广东省生态气象中心研判,春季北方冷空气影响时往往伴随沙尘天气,所携带的沙尘以近地面低空传输为主。当沙尘遇到地势较高的南岭山脉时,会因重力沉降被山体拦截,难以进入广东。
12日影响广东的冷空气则有些不同,与该股冷空气关联的冷涡系统,在快速南下过程中形成持续强劲的偏北风,将沙尘抬升至数千米高空,“跨过”南岭山脉影响广东。广东上一次出现类似的沙尘天气过程,为2009年。从现有监测数据看,本轮沙尘天气为近15年来影响广东最明显的沙尘天气。



广东沙尘天气何时结束?
广东省生态气象中心预计,14日-16日广东风力明显减弱,空气较干燥,粒子直径较小的颗粒物悬浮停滞在空中,不容易快速消散,因此中北部市县仍有分散浮尘;17日,随着风力增大,浮尘消散,此次沙尘天气结束。

根据广东省环境监测中心预测,珠三角地市或将从16日起有较明显改善,粤东、粤西、粤北地市或将从14日起改善。广东各地未来几日空气质量状况如下:



珠三角:4月14-16日,风力减弱,空气质量以良至轻度污染为主,其中14日受北方沙尘影响,南部中至重度污染;15日,风向多变,西南部轻至中度污染。待到17-20日,受较强偏南风和分散降水影响,空气质量优至良。
粤东、粤西、粤北:4月14-20日,空气质量优至良为主,其中14-16日,受风场辐合和北方沙尘影响,大部分地市良至轻度污染。
未来3天广东大部晴到多云
预计,14-16日,广东大部晴到多云,气温逐日回升。
具体预报:
14日,广东大部晴到多云。最低气温:粤北、珠江三角洲北部市县10~14℃,粤西市县17~20℃,其余市县14~17℃。
15日,广东大部晴到多云。最低气温:粤北、珠江三角洲北部市县11~16℃,其余市县17~21℃。
16日,南部市县多云,其余市县晴到多云。最低气温:粤北东部、粤东、珠江三角洲东北部市县12~17℃,其余市县18~22℃。

广州方面,未来几天天气晴好,阳光回归,气温逐渐上升,夏天稳步靠近中。周五起受高空波动和偏南暖湿气流影响,天气转不稳定,有(雷)阵雨局部雨势较大,又要注意防雷防雨了。

沙尘天气如何做好防护?
在沙尘天气的影响下,空气中的颗粒物浓度会急剧上升,尤其是PM10、PM2.5等微小颗粒物,能够深入到我们的呼吸道,甚至进入血液,对人体健康造成威胁。眼睛、呼吸道、皮肤该如何正确防护?一起来看防护指南。
(参考来源:@中国天气、@广东天气、@广州天气、广东省生态环境厅官网、央视网)
文 | 记者 吴瑕